제품정보 | Model
(스타엠 No.5013 드릴척키| Star-m No.5013 Chick key)
용도(Use)
- 임팩트용 드릴 척에 물린 첨단 공구를 제거
- Remove cutting edge tools bitten by drill chuck for impact
특징(Features)
- 임팩트용 드릴 척에 첨단 공구가 씹혀 손으로 풀리지 않게 되었을 때 척을 간단히 풀 수 있습니다
- 사이즈는 3종류이므로, 드릴 척에 있던 사이즈를 선택해 주세요
- There are three sizes, so please select the size on the drill chuck
- you can use this tools when a tool is locked on a drill chuck
사양(Specification)
재질(Materials) | 특수강 Speical steel |
| 적용 기종(Recommended Tools) | 임팩트 드라이버 12V 이상 Impact Driver over 12V |
| 적정 회전수(RPM) | 3,000회전/분 이하 Less than 3,000 Rpm |
| 축 마크를 보는 방법 | : 육각축(Hexagonal) |
| 주의사항(Caution) | 물림이 너무 강하면 육각축 척키가 손상될 수 있습니다 드릴 척과 육각축 척 키의 기어를 제대로 맞추어 사용해 주십시오 Too strong stuck can damage the hexagonal chuck key Align the gears of the drill chuck and hexagon chuck key properly |
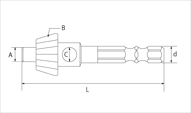
사이즈(Size


전장(Overall Length) : L
사이즈(size) : 삽입직경A x 치수 B(Insert dia. A x B)
구멍직경(hole dia.): C
축 직경(Shank Shape): d
단위(Unit)(mm)
| Product No. | Size | Overall Length | Hole dia. | Shank shape |
|---|---|---|---|---|
| S50131 | 6X11 | 60 | 4.1 | 6.35 |
| S50132 | 6X12 | 6.1 | ||
| S50133 | 7X10 |
1박스: 10입
QTY(Inner Box: 10pcs
씹힌 팁 공구를 제거하는 방법(How to use)

드릴 척과 육각축 척키의 기어끼리를 확실히 맞추어 임팩트 드라이버를 역회전시킵니다
Align the gears of the drill chuck and hexagonal chuck key to reverse the impact driver

척이 간단하게 느슨해져 팁 공구를 척에서 분리할 수 있습니다
The chuck is easily loosened, allowing the tip tool to be removed from the chuck
임팩트용 드릴 척 적합 기종 예 (Drill chuck suitable model for impact)
| 6X11 | JB-65 DR-10 AKL-250/230 SDCK-01N/02N/02NR/02NB A-44775 No.A 드릴 스탠드 |
| 6X12 | JB-10/13 0032-1822 EDC-1-13 CKR-10 |
| 7X10 | JBH-10 A-15562/44781 BH23/21 AKL-200/280 SDCK-03N/03NA |
영상(Movie)
제조사(Maker)
스타엠 | Star-m (Made in Japan) |
제품정보 | Model
(스타엠 No.5013 드릴척키)
(Star-m No.5013 Chick key)
용도(Use)
- 임팩트용 드릴 척에 물린 첨단 공구를 제거
- Remove cutting edge tools bitten by drill chuck for impact
특징(Features)
- 임팩트용 드릴 척에 첨단 공구가 씹혀 손으로 풀리지 않게 되었을 때 척을 간단히 풀 수 있습니다
- 사이즈는 3종류이므로, 드릴 척에 있던 사이즈를 선택해 주세요
- There are three sizes, so please select the size on the drill chuck
- you can use this tools when a tool is locked on a drill chuck
사양(Specification)
재질(Materials) | 특수강 Speical steel |
| 적용 기종 (Recommended Tools) | 임팩트 드라이버 12V 이상 Impact Driver over 12V |
| 적정 회전수(RPM) | 3,000회전/분 이하 Less than 3,000 Rpm |
| 축 마크를 보는 방법 | : 육각축(Hexagonal) |
| 주의사항(Caution) | 물림이 너무 강하면 육각축 척키가 손상될 수 있습니다 드릴 척과 육각축 척 키의 기어를 제대로 맞추어 사용해 주십시오 Too strong stuck can damage the hexagonal chuck key Align the gears of the drill chuck and hexagon chuck key properly |
사이즈(Size


전장(Overall Length) : L
사이즈(size) : 삽입직경A x 치수 B(Insert dia. A x B)
구멍직경(hole dia.): C
축 직경(Shank Shape): d
단위(Unit)(mm)
| Product No. | Size | Overall Length | Hole dia. | Shank shape |
|---|---|---|---|---|
| S50131 | 6X11 | 60 | 4.1 | 6.35 |
| S50132 | 6X12 | 6.1 | ||
| S50133 | 7X10 |
1박스: 10입
QTY(Inner Box: 10pcs
씹힌 팁 공구를 제거하는 방법
(How to use)

드릴 척과 육각축 척키의 기어끼리를 확실히 맞추어 임팩트 드라이버를 역회전시킵니다
Align the gears of the drill chuck and hexagonal chuck key to reverse the impact driver

척이 간단하게 느슨해져 팁 공구를 척에서 분리할 수 있습니다
The chuck is easily loosened, allowing the tip tool to be removed from the chuck
임팩트용 드릴 척 적합 기종 예
(Drill chuck suitable model for impact)
| 6X11 | JB-65 DR-10 AKL-250/230 SDCK-01N/02N/02NR/02NB A-44775 No.A 드릴 스탠드 |
| 6X12 | JB-10/13 0032-1822 EDC-1-13 CKR-10 |
| 7X10 | JBH-10 A-15562/44781 BH23/21 AKL-200/280 SDCK-03N/03NA |
영상(Movie)
제조사(Maker)
스타엠 | Star-m (Made in Japan) |