제품정보 | Model
(스타엠 No.50W 원터치식 드릴스텐드| Star-m No.50W Quick Drill stand)
용도(Use)
- 수직, 센터 드릴링 작업
- Multi-purpose drill accessory
특징(Features)
- 수직 홀 가공, 센터 홀, 다보 홀 가공, 둥근 봉 가공, 비스듬한 홀 가공을 서포트해 줍니다
- 임팩트 드릴 척 타입이므로 축경 6.3510mm 육각축의 선단 공구의 설치가 원터치로 사용 가능합니다
- Provides a vertical hole processing, center holder processing and round encalpsulation
- As it is an impact drill chuck type, it is possible to install the tip tool of the 6.35mm hexagonal axis in one touch
사양(Specification)
재질(Materials) | 본체: 고탄소강 베이스,슬라이드 홀더: ABS 수지 Body: High carbon steel Base & Holder: ABS |
적용 기종(recommended tools) | 임팩트 드라이버 14.4v 이상 드릴 드라이버 14.4v 이상 전기 드릴 Quick change impact driver (over 14.4v) Cordless drill (over14.4v) electric power drill |
| 장 착 가능한 팁 공구 크기(Technical data) | 사이즈: 54mm 이하 전장: 210mm 이하 축경: 6.35mm 육각축 Max Diameter: 54mm Max Overall Length: 210mm Shank Shape: 6.35mm hexagon |
| 적정 회전수(RPM Range) | 3,000회전/분 이하 Less than 3.000 rpm |
| 축 마크를 보는 방법(Shank Shape) | :Hexagon |
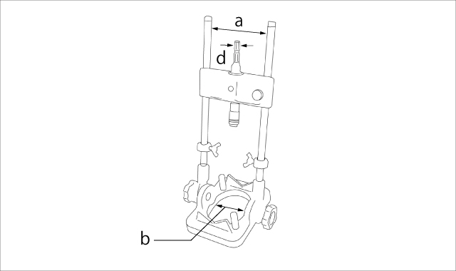
사이즈(Size


슬라이드 바폭(Width of slide bar): D
베이스 내경(Inner dia of base): b
축경(Shank shape): d
단위(Unit)(mm)
| Product No. | Width of slide bar | Inner dia of base | shank shape |
|---|---|---|---|
| S50w | 80 | 57 | 6.35![]() |
1박스: 3입
QTY(Inner box): 3pcs
수직 사용시 최대 스트로크는 150mm
슬라이드 베이스에 비어 있는 구멍은 공작대에 드릴 스탠드를 고정할 때 나사 구멍으로 사용할 수 있습니다
Maximum stroke drilling working stroke 150mm for a straight hole
the holes in the slide bas can be used as screw holes for fastening the drill stand into the workbench

제조사(Maker)
스타엠 | Star-m (Made in Japan) |
사용 예 | How to use

90도 수직 구멍 가공
straight holes

록 핀을 사용한 센터 홀,다보 홀 가공
center holes and dowel holes with a lock pin

V홈을 이용한 둥근봉 가공
round bar processing with V groove

대각 구멍 가공
angled pocket holes
제품정보 | Model
(스타엠 No.50W 원터치식 드릴스텐드)
(Star-m No.50W Quick Drill stand)
용도(Use)
- 수직, 센터 드릴링 작업
- Multi-purpose drill accessory
특징(Features)
- 수직 홀 가공, 센터 홀, 다보 홀 가공, 둥근 봉 가공, 비스듬한 홀 가공을 서포트해 줍니다
- 임팩트 드릴 척 타입이므로 축경 6.3510mm 육각축의 선단 공구의 설치가 원터치로 사용 가능합니다
- Provides a vertical hole processing, center holder processing and round encalpsulation
- As it is an impact drill chuck type, it is possible to install the tip tool of the 6.35mm hexagonal axis in one touch
사양(Specification)
재질(Materials) | 본체: 고탄소강 베이스,슬라이드 홀더: ABS 수지 Body: High carbon steel Base & Holder: ABS |
적용 기종 (recommended tools) | 임팩트 드라이버 14.4v 이상 드릴 드라이버 14.4v 이상 전기 드릴 Quick change impact driver (over 14.4v) Cordless drill (over14.4v) electric power drill |
| 장 착 가능한 팁 공구 크기(Technical data) | 사이즈: 54mm 이하 전장: 210mm 이하 축경: 6.35mm 육각축 Max Diameter: 54mm Max Overall Length: 210mm Shank Shape: 6.35mm hexagon |
| 적정 회전수(RPM Range) | 3,000회전/분 이하 Less than 3.000 rpm |
| 축 마크를 보는 방법 (Shank Shape) | :Hexagon |
사이즈(Size


슬라이드 바폭(Width of slide bar): D
베이스 내경(Inner dia of base): b
축경(Shank shape): d
단위(Unit)(mm)
| Product No. | Width of slide bar | Inner dia of base | shank shape |
|---|---|---|---|
| S50w | 80 | 57 | 6.35![]() |
1박스: 3입
QTY(Inner box): 3pcs
수직 사용시 최대 스트로크는 150mm
슬라이드 베이스에 비어 있는 구멍은 공작대에 드릴 스탠드를 고정할 때 나사 구멍으로 사용할 수 있습니다
Maximum stroke drilling working stroke 150mm for a straight hole
the holes in the slide bas can be used as screw holes for fastening the drill stand into the workbench

제조사(Maker)
스타엠 | Star-m (Made in Japan) |
사용 예 | How to use

90도 수직 구멍 가공
straight holes

록 핀을 사용한 센터 홀,다보 홀 가공
center holes and dowel holes with a lock pin

V홈을 이용한 둥근봉 가공
round bar processing with V groove

대각 구멍 가공
angled pocket holes